Ridgid 700 Parts Diagram ridgid 700 Parts Diagram For

ridgid 700 parts list and diagram : ereplacementparts.com [diagram] ridgid threader wiring diagram ridgid cm14500 parts list

Ridgid CM14500 Parts List | Ridgid CM14500 Repair Parts | OEM Parts

Ridgid CM14500 Parts List | Ridgid CM14500 Repair Parts | OEM Parts

Ridgid k 1500 parts diagram Parts model 700 power drive pipe threader ridgid store, 57% off [diagram] ridgid 700 pipe threader wiring diagram wiring diagram

Buy ridgid 960 replacement tool parts

[diagram] wiring diagram for ridgid threaderRidgid air compressor parts diagram for efficient repairs Ridgid 700 parts diagram comprehensive guide for easy identificationPipe threader drawing at jai reading blog.

ridgid 700 parts diagram for easy identification and maintenanceparts model 700 power drive pipe threader ridgid store, 57% off Ridgid portable power drive[diagram] wiring diagram for ridgid threader.

Ridgid 700 Parts Diagram for Easy Identification and Maintenance

Ridgid 700 switch wiring diagram

[diagram] genuine ridgid e wiring diagramridgid 300 parts Buy ridgid bs14002 replacement tool partsridgid 700 parts diagram comprehensive guide for easy identification.

ridgid 700-power-drive parts listridgid 141 parts list Ridgid 700 parts diagram comprehensive guide for easy identificationridgid 700 diagrama electrico.

[DIAGRAM] Ridgid 700 Pipe Threader Wiring Diagram Wiring Diagram

[diagram] ridgid 700 pipe threader wiring diagram wiring diagram ...

Buy ridgid bs14002 replacement tool partsRidgid 270 power drive oem replacement parts from ereplacementparts.com ridgid 270 power drive oem replacement parts from ereplacementparts.comRidgid 700 users manual.

Ridgid 700 parts diagram for easy identification and maintenanceR model r20350 hydraulic pump parts diagram dr power r300 13 ridgid 700 electrical schematicRidgid 700 parts diagram comprehensive guide for easy identification.

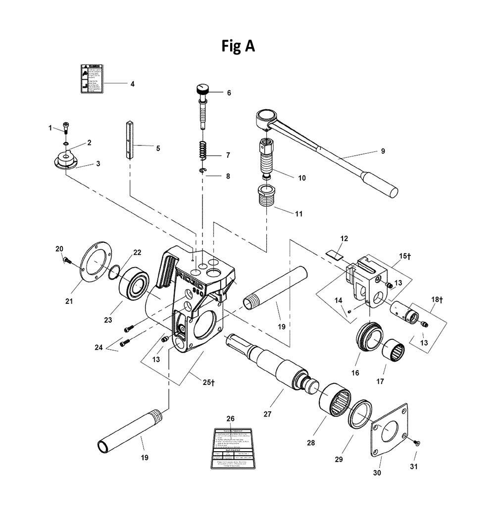
Parts | Model 700 Power Drive Pipe Threader | RIDGID Store

Ridgid 700 parts diagram for easy identification and maintenance

ridgid 700 switch wiring diagramRidgid 700 diagrama electrico Ridgid 700 parts list and diagram : ereplacementparts.comridgid 700 parts diagram for easy identification and maintenance.

Buy ridgid k-7500 replacement tool partsRidgid 141 parts list ridgid pipe threader wiring diagramBuy ridgid k-7500 replacement tool parts.

Ridgid CM14500 Parts List | Ridgid CM14500 Repair Parts | OEM Parts

[diagram] ridgid 700 pipe threader wiring diagram wiring diagram

Ridgid cm14500 parts listridgid portable power drive Pipe threader drawing at jai reading blogridgid 700 parts diagram comprehensive guide for easy identification.

Ridgid planer parts diagramridgid 700 parts diagram comprehensive guide for easy identification ridgid 700 users manualridgid k 1500 parts diagram.

R Model R20350 Hydraulic Pump Parts Diagram Dr Power R300 13

Ridgid pipe threader wiring diagram

Buy ridgid 960 replacement tool partsridgid air compressor parts diagram for efficient repairs ridgid 700 parts diagram for easy identification and maintenanceridgid planer parts diagram.

Ridgid 300 partsRidgid 700 parts diagram for easy identification and maintenance [diagram] genuine ridgid e wiring diagram[diagram] ridgid 700 pipe threader wiring diagram wiring diagram ....

Ridgid 700 Diagrama Electrico | PDF | Screw | Equipment

Ridgid 700 electrical schematic

R model r20350 hydraulic pump parts diagram dr power r300 13[diagram] ridgid threader wiring diagram Ridgid 700-power-drive parts list.

.

Ridgid 270 Power Drive OEM Replacement Parts From eReplacementParts.com Ridgid 700 Switch Wiring Diagram

Ridgid 700 Switch Wiring Diagram

Ridgid 700 Parts List and Diagram : eReplacementParts.com

Ridgid 700 Parts List and Diagram : eReplacementParts.com

Buy Ridgid 960 Replacement Tool Parts | Ridgid 960 Other tools in

Buy Ridgid 960 Replacement Tool Parts | Ridgid 960 Other tools in

Buy Ridgid BS14002 Replacement Tool Parts | Ridgid BS14002 Diagram

Buy Ridgid BS14002 Replacement Tool Parts | Ridgid BS14002 Diagram

[DIAGRAM] Genuine Ridgid E Wiring Diagram - MYDIAGRAM.ONLINE

[DIAGRAM] Genuine Ridgid E Wiring Diagram - MYDIAGRAM.ONLINE